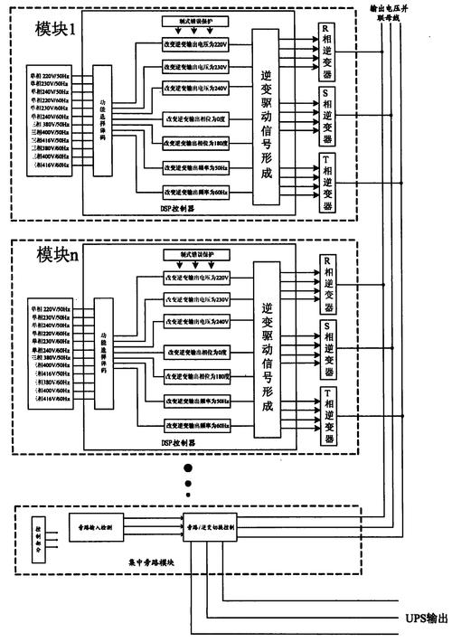
UPS电源模型图图纸
UPS电源模型图由沐风网认证设计师80后机械工程师于2023-03-19 08:36发布,该图纸隶属分类为:电源、电池,支持软件及版本:Solidworks、Solidworks2016,包含格式为:step、png。

由80后机械工程师发布的UPS电源模型图图纸,下载所需沐风币0个。截止目前已被浏览:1793次,收藏0次。持续被广泛用户关注,建议您即刻下载或收藏。
ups电源应急处理:断电与故障应对
市电中断时:优先保存电脑、服务器数据,关闭非必要设备(如办公···
ups电源主机与负载维护
主机维护:每季度检查风扇:风扇转速慢或停转需更换(防止主机过···
ups电源蓄电池专项养护
充电管理:避免深度放电:市电中断时,待重要设备备份完成后及时···
ups电源日常检查:及时排查隐患
每日快速检查:观察主机指示灯:正常时 “市电”“逆变” 灯常亮···
ups电源环境养护:奠定稳定运行基础
温湿度控制:温度保持 20-25℃(蓄电池最佳工作温度,超出会缩短···
不同场景下 UPS 电源蓄电池的选型指南
一、办公场景(电脑、打印机)需求:15-30 分钟应急供电,免维护···
UPS 电源蓄电池:设备续航的 “能量卫士”
在数据中心、医疗设备、工业控制系统等关键场景中,UPS 电源蓄电···
UPS电源与EPS电源有哪些区别?
大家都知道UPS电源是供电的,主要是提供电能,而出了UPS电源还有···
UPS电源能给用户带来哪些实在好处?
UPS是英文简称,简而言之就是不间断电源。主要用于通讯,电力,金···
UPS电源使用过程中最基本功能有哪些?
1、电压稳定---一市电电压易受电力输送线路品质的影响,离变电所较···
免维护蓄电池和一般蓄电池二者有什么区别?
1.免维护蓄电池和一般蓄电池的材料不同,首先免维护蓄电池的材料···
蓄电池的维护需要注意哪些内容?
1.要检查无锡汤浅蓄电池状态下指示灯的颜色,因为颜色代表着不同···
EPS电源的用途与运用领域有哪些?
EPS电源也就是紧急电源,通俗点来讲,我们可以把EPS电源比喻成是···
UPS电源与EPS电源有哪些区别?
大家都知道UPS电源是供电的,主要是提供电能,而出了UPS电源还有···
EPS电源需要配置什么样类型的电池 ?
EPS电源现在也是一种常见的储存设备,很多的客户都喜欢用这个电池···
